4mytym.com
FOR ASSISTANCE CALL: (724) 691-0200
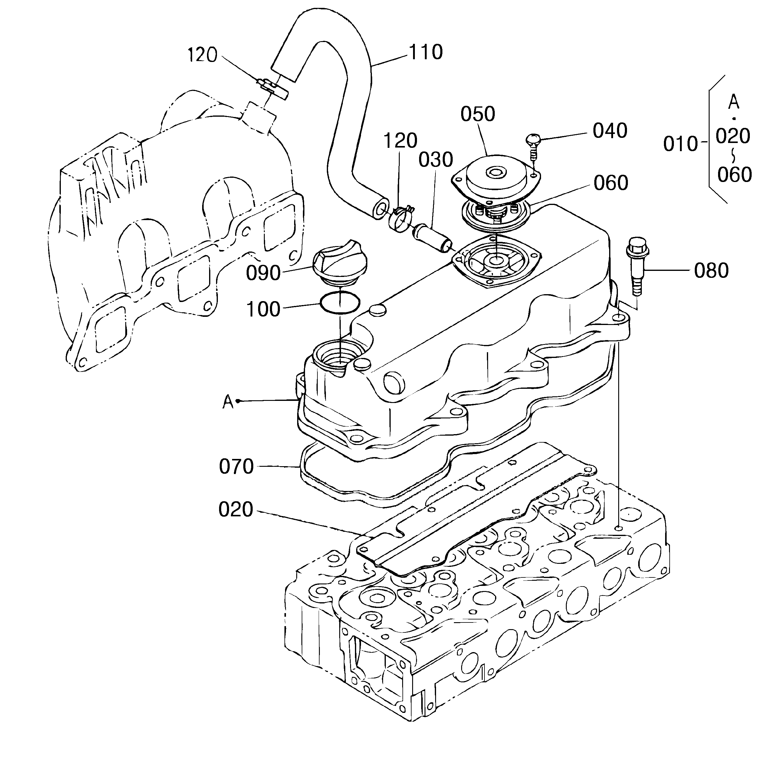
Parts not listed are not available at this time
NO | Name | Price | Action |
---|---|---|---|
13 | O-RING, DYNAMIC (Φ14) | $2 |
Parts not listed are not available at this time
NO | Name | Price | Action |
---|---|---|---|
13 | O-RING, DYNAMIC (Φ14) | $2 |