0

Cart is empty.

0
IMPLEMENT
4mytym.com FOR ASSISTANCE CALL: (724) 691-0200

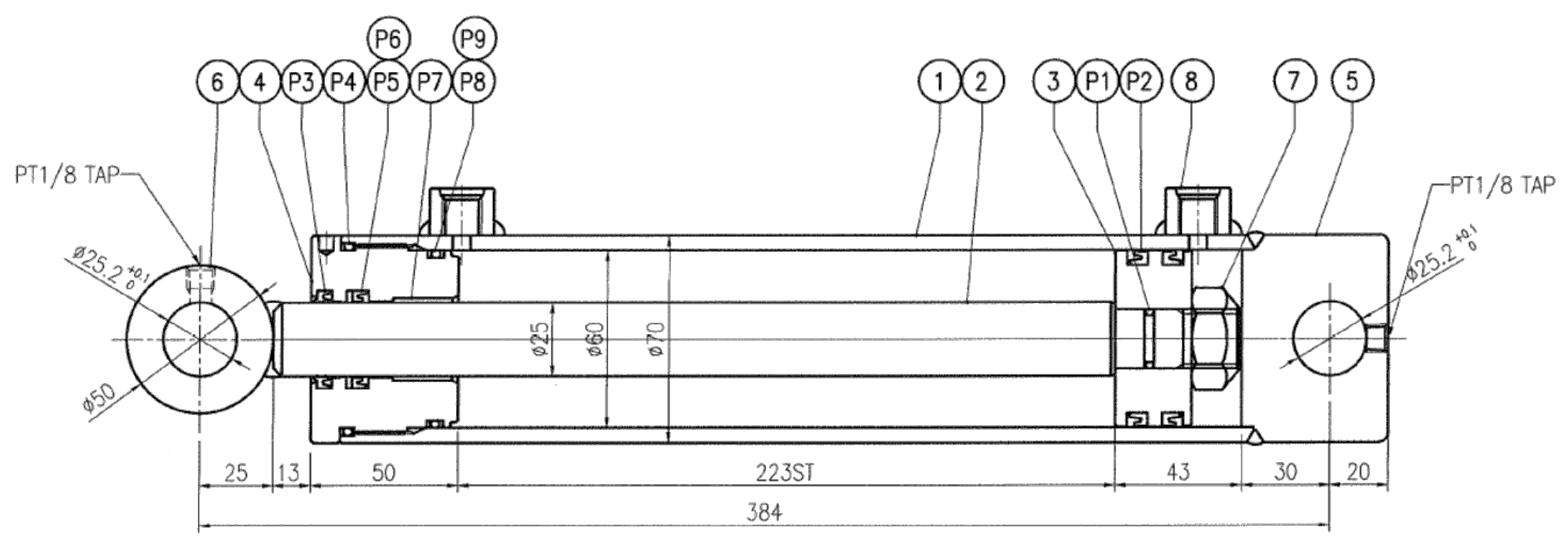
TYM TB65 SWING CYLINDER-SEAL KIT SCHEMATICS