0

Cart is empty.

0
IMPLEMENT
4mytym.com FOR ASSISTANCE CALL: (724) 691-0200

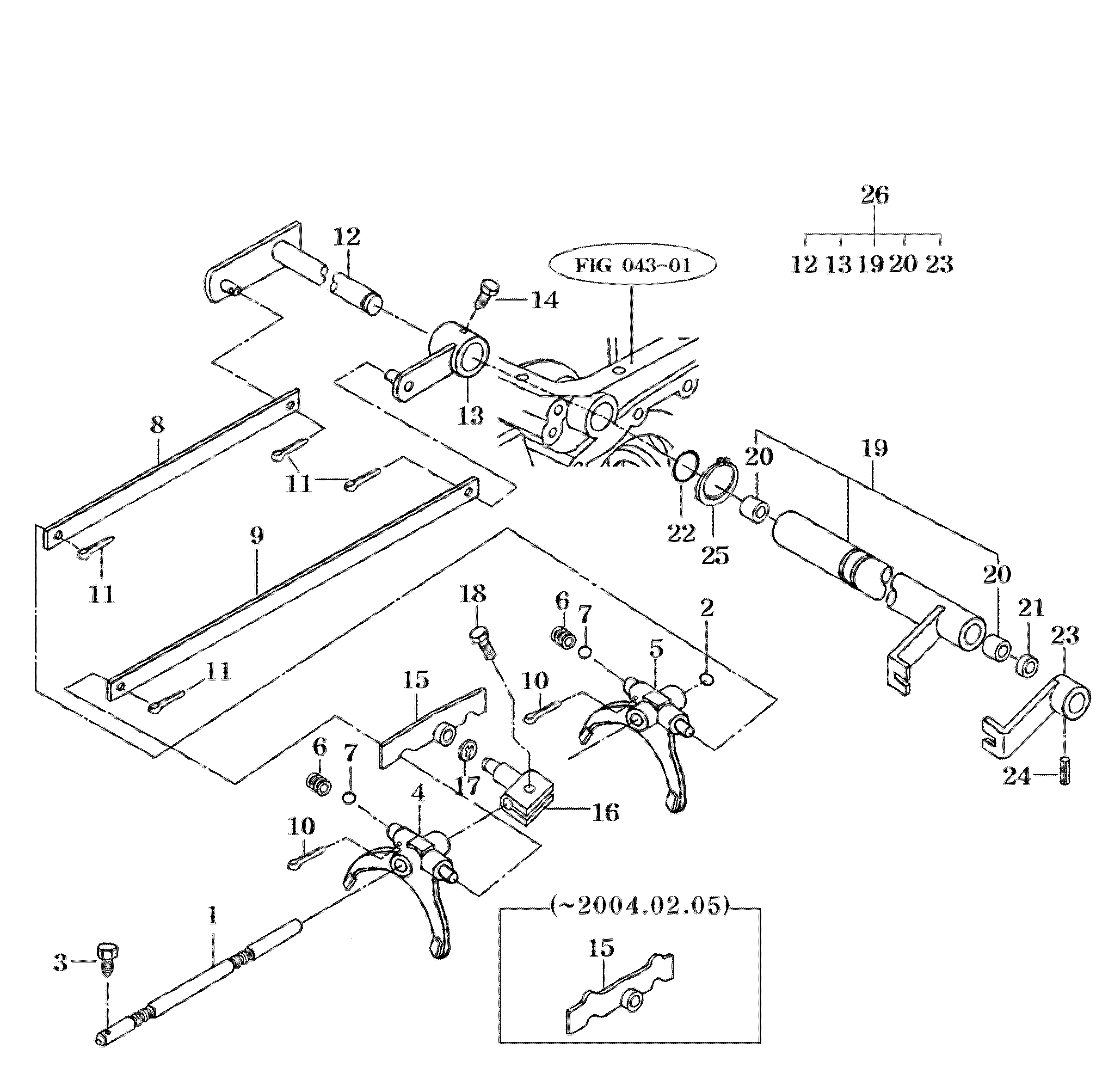
TYM T451ST P.T.O CHANGE LINKAGE-4 SPEED SCHEMATICS